
應用描述
受益于存量基站更新換代、5G基站大規模商業化,以及儲能系統在發電側、電網側、用戶側的快速商業化,電力儲能系統市場需求大增。電力儲能系統通過一定介質存儲電能,在需要時將所存能量釋放發電,作為負荷平衡裝置和備用電源提高電力系統的穩定性。鋰電池作為一種性能優秀的存儲介質,在電力儲能市場運用越來越廣泛。作為電力儲能系統的重要組成部分,鋰電池在高工作溫度下,電池有自燃風險且壽命會降低;在戶外應用環境惡劣,電池負載異常短路風險增高,因此電池包的安全性,可靠性等越來越受到關注和重視。
針對電力儲能系統鋰電池包,CRMICRO 提供豐富的中低壓MOS產品,極低的RDS(on)參數降低電池導通損耗,且提高整體效率,從而降低電池工作溫度,提高電池壽命和安全性。優秀的EAS和SOA參數,更好的適應電池負載短路異常情況,提高電池包的可靠性。
產品特色
![]() |
極低的RDS(on)參數 | ![]() |
優秀的EAS和SOA參數 |
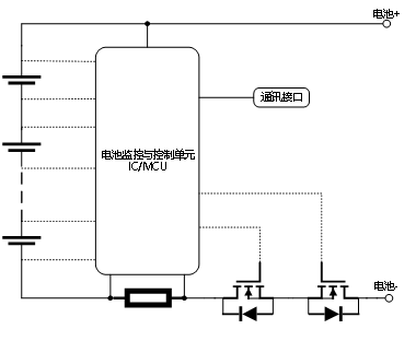
應用原理圖
;
典型應用拓撲圖
;
應用選型推薦
;